Питатель ПТЛ-600
Питатель ПТЛ-600 представляет собой специальное устройство, предназначенное для непрерывного заброса топлива в место сжигания топок как водогрейных, так и паровых котлов. Данный вид забрасывателя имеет ряд уникальных особенностей, обеспечивающих не только безопасную работу даже при возникновение некоторых отклонений от нормального режима работы, но и длительный срок эксплуатации.
В нашем интернет-магазине вы можете купить Питатель ПТЛ-600 по выгодной цене. Оформить заказ можно онлайн или по телефонам.
| Цена: | не указана |
Особенности питателя ПТЛ-600
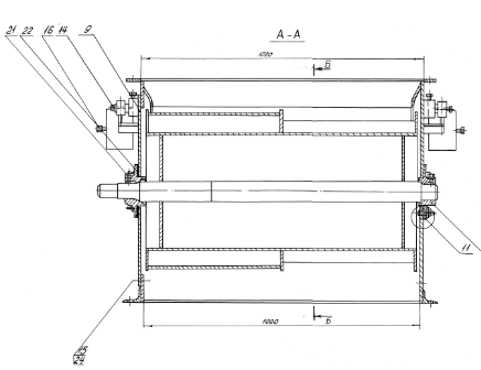
Питатель ПТЛ-600 представляет собой устройство, состоящее из ящика для углей, в котором имеется регулирующая заслонка, пластинчатого транспортера с изменяемой скоростью. Дальность заброса угля определяется частотой вращения ротора и положением плиты для разгона, а производительность устанавливается благодаря скорости транспортера и положению заслонки.
Питатель ПТЛ-600 в автоматическом режиме осуществляет дозирование количественных показатели поступающего топлива, производя их распределение на ленту. Кроме того, скорость движения питателя, можно легко изменять при помощи специального преобразователя.
Требования к монтажу питателя ПТЛ-600
Подготовка питателя ПТЛ-600 должна быть выполнена в соответствии с паспортом и инструкцией по эксплуатации на конкретный тип топки. Весь процесс монтажа должен выполняться в строгом порядке в соответствие с прилагающейся инструкцией.
В собранном виде угольный ящик с имеющимися в нем заслонками и специальными перегородками, позволит обеспечить поступления угля на транспортер. Если изделие установлено правильно, то транспортер будет подавать уголь на забрасывающий механизм, а уже оттуда, будет осуществляться заброс угля на необходимую дальность. Конструкция питателя выполнена таким образом, чтобы обеспечить ремонт, технический осмотр, а также смазку всех механизмов без отключения питателя от котла.
Купить питатель ПТЛ-600
Осуществить покупку питателя ПТЛ-600 у нас, можно одним из двух доступных способов. Покупатель может сделать заказ устройства связавшись с нами по номеру телефона, который указан на нашем официальном сайте, а также заказы принимаются путем заполнения специальной формы в режиме онлайн, в которой требуется указать свои контактные данные. Наш менеджер обязательно перезвонит вам для уточнения всех деталей заказа.
10 лет
на рынке
Описание достоинства
производственная
база
Описание достоинства
ассортимент
товаров
Описание достоинства
на все
товары
Описание достоинства
с выбором?
Питатель ПТЛ-600 представляет собой специальное устройство, предназначенное для непрерывного заброса топлива в место сжигания топок как водогрейных, так и паровых котлов. Данный вид забрасывателя имеет ряд уникальных особенностей, обеспечивающих не только безопасную работу даже при возникновение некоторых отклонений от нормального режима работы, но и длительный срок эксплуатации.





